-
목차
연금주택에 대해 들어보셨나요? 연금주택은 나이가 들어 집을 연금처럼 활용해 노후 생활을 든든하게 해주는 금융상품입니다. 특히 노후 준비를 고민하는 60대 이상이라면 꼭 알아야 할 필수 금융제도입니다. 이번 글에서는 연금주택의 정의부터 가입 방법, 실제 시뮬레이션까지 이해하기 쉽게 알려드리겠습니다.
1. 연금주택이란 무엇인가?
연금주택(주택연금)이란 자신이 소유한 집을 담보로 맡기고, 평생 또는 일정 기간 동안 매달 혹은 매년 연금 형태로 돈을 받는 제도입니다. 주택금융공사나 시중은행을 통해 가입할 수 있으며, 집을 담보로 하되, 가입자가 집에서 계속 거주할 수 있다는 점이 가장 큰 특징입니다.
2. 연금주택(주택연금) 가입 조건
연금주택 가입의 기본 조건은 다음과 같습니다.
- 만 55세 이상 (부부 중 한 명이라도 충족)
- 소유한 주택 가격이 9억 원 이하 (초과 주택은 9억 원 기준으로 지급액 산정)
- 주택은 본인 소유여야 하며, 등기부상 깨끗한 상태 (담보 등 설정 없는 주택)
3. 연금주택(주택연금)
가입 절차
연금주택(주택연금) 가입은 다음과 같은 절차로 진행됩니다.
① 상담받기
- 한국주택금융공사 또는 가까운 은행에서 자세한 상담을 진행합니다.
- 본인의 나이, 주택가격 등을 토대로 받을 수 있는 연금액을 확인할 수 있습니다.
② 가입 신청서 제출
- 신분증, 주민등록등본, 등기부등본 등 필요한 서류를 제출하고 가입 신청서를 작성합니다.
③ 주택 가격 평가
- 기관에서 현장 평가를 통해 정확한 주택가치를 산정합니다.
④ 계약 체결 및 연금 지급 시작
- 계약을 체결하고 정해진 날부터 연금을 받기 시작합니다.
4. 연금주택(주택연금)
실제 시뮬레이션 사례
예를 들어, 현재 80세의 어르신이 4억 원짜리 주택을 가지고 있고, 100세까지 20년간 연금으로 활용한다면 다음과 같은 시뮬레이션이 가능합니다.


- 연간 연금 수령액: 약 2,662만 원
- 연간 이자 지급: 첫 해 약 1,200만 원(주택가치에서 빠지지 않음)
- 연간 원금 상환: 첫 해 약 1,462만 원(주택가치에서 차감)
- 연령이 높아질수록 원금 상환액이 증가하며, 마지막 연도에는 주택가치가 0원이 됩니다.
이자는 은행이 집을 맡긴 대가로 지급하는 것으로, 집의 가치에서 차감되지 않습니다. 집값에서 실제로 차감되는 부분은 오직 '원금 부분'뿐입니다.
5. 연금주택(주택연금)
이용 중 이사 가능 여부
연금주택 이용 중에도 이사는 가능합니다. 이사 시 두 가지 방법이 존재합니다.
① 담보 주택 변경(대체주택 이용)
- 새 주택이 기존 주택과 비슷하거나 더 비싼 경우 기존 계약 유지 가능하며 담보 변경만 진행됩니다.
② 계약 해지 후 재가입
- 새 주택 가격이 기존 주택보다 크게 낮을 경우 계약 해지 후 재가입할 수 있으며, 새로 주택 평가가 이루어집니다.
앞서 4억짜리 집의 예시로 보면?
처음 1년째 연금 수령 내역 (예시)
-
- 연금 총액: 약 2,662만 원
- 이자 부분: 1,200만 원 → ❌ 집의 가치가 줄어들지 않음
- 원금 부분: 1,462만 원 → ✅ 이 금액만큼 집의 가치가 줄어듦
- 연금 총액: 약 2,662만 원
즉, 1년이 지난 뒤의 집의 가치는:
-
- 4억 원 - 1,462만 원 = 약 3억 8,538만 원 (이자 1,200만 원은 포함하지 않음)
🚩 5년 후의 실제 예시로 다시 계산해볼까요?
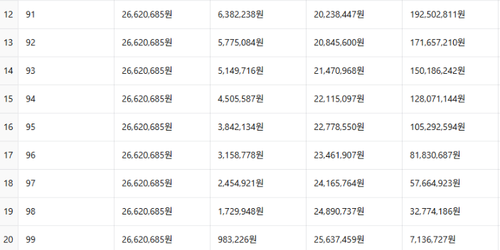
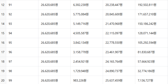
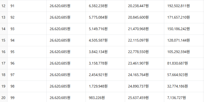
나이연금 총액이자 부분원금 부분남은 주택가치80세 2,662만 원 1,200만 원 1,462만 원 3억 8,538만 원 81세 2,662만 원 1,156만 원 1,506만 원 3억 7,032만 원 82세 2,662만 원 1,111만 원 1,551만 원 3억 5,481만 원 83세 2,662만 원 1,064만 원 1,598만 원 3억 3,883만 원 84세 2,662만 원 1,016만 원 1,646만 원 3억 2,237만 원 여기서 실제로 주택가치에서 빠진 금액은,
원금 부분인 약 7,763만 원(5년간 원금의 합) 입니다.따라서 5년 후 이사를 간다면, 집의 가치는
-
- 4억 원 - 7,763만 원 = 약 3억 2,237만 원입니다.
단, 이사 시 기존에 받은 원금 부분만큼 기존 주택의 가치에서 차감됩니다. 이자는 차감되지 않습니다.
6. 연금주택 가입 시 유의할 점
- 주택 가격 평가가 중요한 기준이므로 정확한 평가를 받아야 합니다.
- 연금 수령 방식(정액형 또는 체감형)을 신중히 선택해야 합니다.
- 계약 후에도 이사나 변경이 가능하지만, 추가 비용이 발생할 수 있습니다.
결론
연금주택은 노후의 안정적인 수입원을 만들어주는 제도로, 정확한 이해와 신중한 결정이 중요합니다. 위의 내용을 바탕으로 본인의 상황에 맞는 최적의 연금주택 계획을 세워 안정된 노후를 준비하시길 바랍니다.
키워드: 연금주택, 주택연금, 연금주택 가입방법, 연금주택 이자, 연금주택 원금, 연금주택 이사, 노후 준비
'내일을 준비하는 부동산 기록' 카테고리의 다른 글
소득이 적은 부모님, 경락자금대출 가능할까? (0) 2025.05.19 입찰가 어떻게 정할까? 경매 낙찰 전략 완전정복! (0) 2025.05.19 부모님 집 갈아타기 실전 가이드 ② 좋은 경매 물건 고르는 법 (0) 2025.05.15 경매 초보도 가능한 ‘부모님 집 갈아타기’ 실전 7단계 가이드 (2) 2025.05.15 연금주택 수령 중 발생할 수 있는 3가지 변수: 장수, 사망, 집값 상승 대응법 (0) 2025.05.01